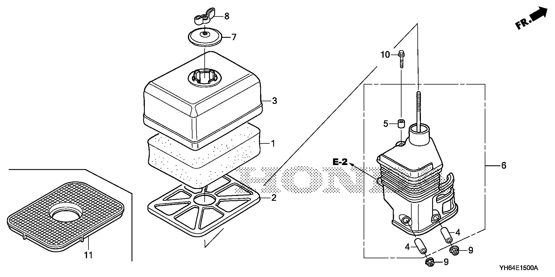
Water Pumps WH WH15 WH15XT A WAJT-1000001-9999999 AIR CLEANER (1) - Robert E. Little, Inc.

Ref No
Part Number
Description
Serial Range
Qty
Price

Ref No
1
Part Number
17211-ZE1-000
Description
ELEMENT, AIR CLEANER (SEMI-DRY)
Serial Range
1000001 - 9999999
Qty
Price
$8.46

Ref No
2
Part Number
17212-ZE1-000
Description
GRID, AIR CLEANER (SEMI-DRY)
Serial Range
1000001 - 1325646
Qty
Price
$9.12

Ref No
3
Part Number
17231-ZE0-000
Description
COVER, AIR CLEANER (SEMI-DRY)
Serial Range
1325647 - 9999999
Qty
Price
$46.04

Ref No
4
Part Number
17238-ZE0-010
Description
COLLAR, AIR CLEANER
Serial Range
1000001 - 9999999
Qty
Price
$4.58

Ref No
5
Part Number
17239-ZE1-000
Description
COLLAR B, AIR CLEANER
Serial Range
1000001 - 9999999
Qty
Price
$4.44

Ref No
6
Part Number
17410-ZE0-040
Description
ELBOW, AIR CLEANER
Serial Range
1000001 - 9999999
Qty
Price
$36.34

Ref No
7
Part Number
17421-ZE1-000
Description
CAP, CLEANER
Serial Range
1000001 - 9999999
Qty
Price
$12.26

Ref No
8
Part Number
90325-044-000
Description
NUT, TOOL BOX SETTING
Serial Range
1000001 - 9999999
Qty
Price
$5.14

Ref No
9
Part Number
94050-06000
Description
NUT, FLANGE (6MM)
Serial Range
1000001 - 9999999
Qty
Price
$0.82

Ref No
10
Part Number
95701-06020-00
Description
BOLT, FLANGE (6X20)
Serial Range
1000001 - 9999999
Qty
Price
$2.16

Ref No
11
Part Number
17250-Z0T-810
Description
GRID, AIR CLEANER
Serial Range
1325647 - 9999999
Qty
Price
$1.92