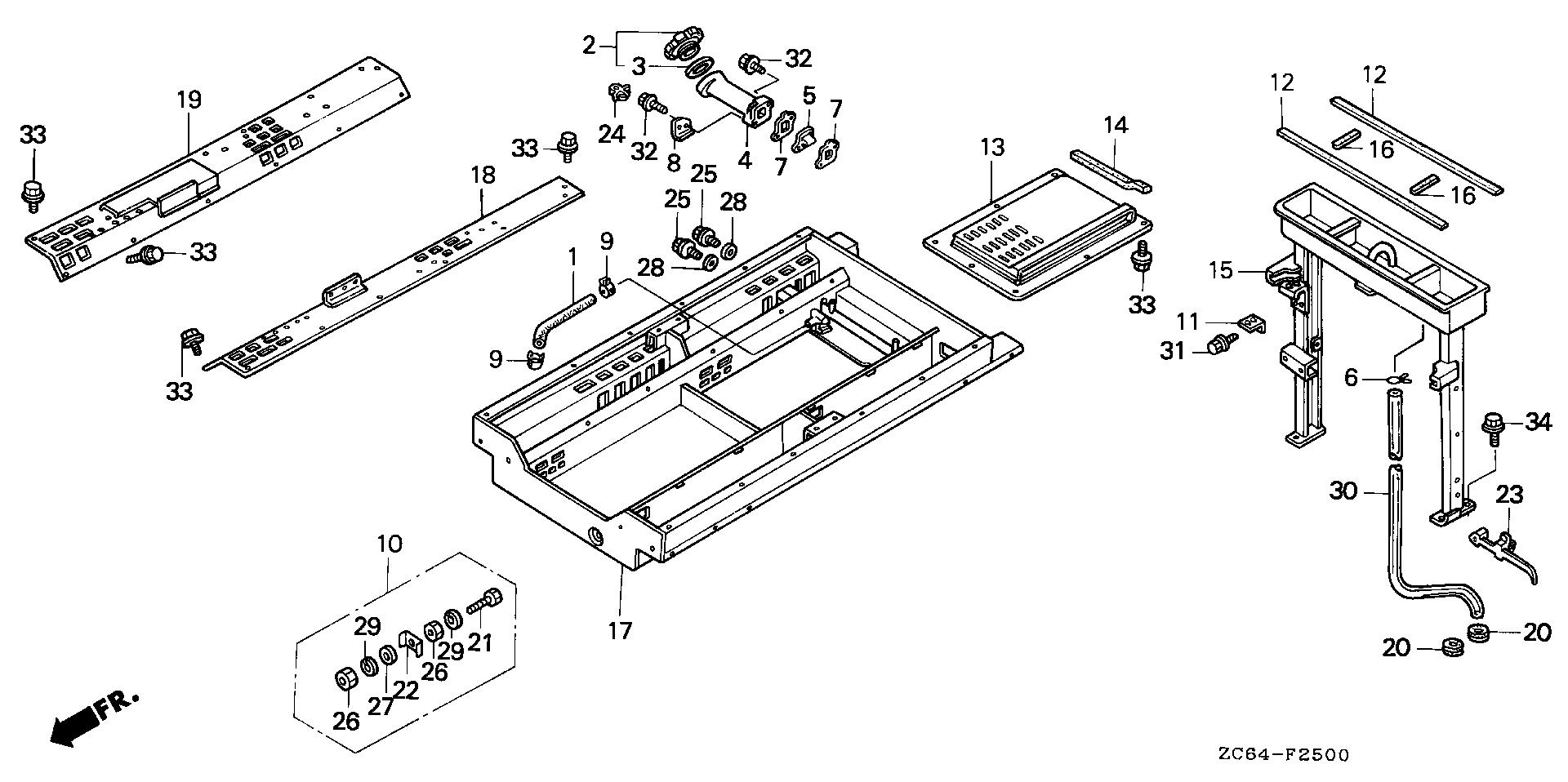
Ref No
Part Number
Description
Serial Range
Qty
Price
Ref No 1
Part Number 15552-ZC6-000
Description TUBE, OIL DRAIN
Serial Range 1000001 - 9999999
Ref No 2
Part Number 15610-PC6-000
Description CAP ASSY., OIL FILLER
Serial Range 1000001 - 9999999
Qty
Price $22.58
Add To Cart
Ref No 3
Part Number 15613-PC6-000
Description GASKET, OIL FILLER
Serial Range 1000001 - 9999999
Qty
Price $10.98
Add To Cart
Ref No 4
Part Number 15632-ZC6-000
Description PIPE, OIL
Serial Range 1000001 - 9999999
Ref No 5
Part Number 15638-ZC6-000
Description GUIDE, OIL
Serial Range 1000001 - 9999999
Ref No 6
Part Number 15772-551-000
Description CLIP, BREATHER TUBE
Serial Range 1000001 - 9999999
Qty
Price $2.50
Add To Cart
Ref No 7
Part Number 16663-ZG5-000
Description GASKET, RACK COVER (NOT AVAILABLE)
Serial Range 1000001 - 1002746
Ref No 7
Part Number 16663-ZG5-800
Description GASKET, RACK COVER (NON-ASBESTOS)
Serial Range 1002747 - 9999999
Qty
Price $3.40
Add To Cart
Ref No 8
Part Number 17579-ZC6-000
Description BRACKET, FUEL TUBE
Serial Range 1002747 - 9999999
Ref No 9
Part Number 19506-KS6-700
Description CLAMP B, WATER HOSE
Serial Range 1000001 - 9999999
Ref No 10
Part Number 31428-899-840
Description TERMINAL SET, GROUND
Serial Range 1000001 - 9999999
Qty
Price $23.42
Add To Cart
Ref No 11
Part Number 38228-ZC6-000
Description BRACKET, MAIN FUSE
Serial Range 1000001 - 9999999
Ref No 12
Part Number 63147-ZC6-000
Description SEAL, COVER (UPPER)
Serial Range 1000001 - 9999999
Qty
Price $8.60
Add To Cart
Ref No 13
Part Number 63210-ZC6-000ZA
Description COVER, OIL PAN MAINTENANCE *NH105* (MAT BLACK)
Serial Range 1000001 - 9999999
Ref No 14
Part Number 63218-ZC6-000
Description OIL SEAL, PAN MAINTENANCE COVER
Serial Range 1000001 - 9999999
Qty
Price $4.58
Add To Cart
Ref No 15
Part Number 63570-ZC6-000ZA
Description BEAM, CENTER *B132* (JOHN BLUE)
Serial Range 1000001 - 9999999
Ref No 16
Part Number 63577-ZC6-000
Description SEAL, CENTER BEAM (B)
Serial Range 1000001 - 9999999
Qty
Price $2.28
Add To Cart
Ref No 17
Part Number 63710-ZC6-020ZA
Description COVER (LOWER) *NH105* (MAT BLACK)
Serial Range 1000001 - 9999999
Ref No 18
Part Number 63722-ZC6-010ZA
Description PLATE, R. (LOWER) *NH105* (MAT BLACK)
Serial Range 1000001 - 9999999
Ref No 19
Part Number 63727-ZC6-010ZA
Description PLATE, L. (LOWER) *NH105* (MAT BLACK)
Serial Range 1000001 - 9999999
Ref No 20
Part Number 88911-MJ3-000
Description GROMMET, FENDER
Serial Range 1000001 - 9999999
Qty
Price $2.18
Add To Cart
Ref No 21
Part Number 90011-899-840
Description BOLT, HEX. (6X28)
Serial Range 1000001 - 9999999
Qty
Price $4.26
Add To Cart
Ref No 22
Part Number 90501-ZA7-640
Description RETAINER (6MM)
Serial Range 1000001 - 9999999
Qty
Price $3.72
Add To Cart
Ref No 23
Part Number 90649-SC2-003
Description BAND, WIRE HARNESS (150MM) (NATURAL)
Serial Range 1000001 - 9999999
Qty
Price $8.50
Add To Cart
Ref No 24
Part Number 90659-680-013
Description CLIP, WIRE HARNESS
Serial Range 1000001 - 9999999
Qty
Price $7.96
Add To Cart
Ref No 25
Part Number 92800-12000
Description BOLT, DRAIN PLUG (12MM)
Serial Range 1000001 - 9999999
Qty
Price $4.72
Add To Cart
Ref No 26
Part Number 94001-06390-0S
Description NUT, HEX. (6MM)
Serial Range 1000001 - 9999999
Qty
Price $1.96
Add To Cart
Ref No 27
Part Number 94101-06800
Description WASHER, PLAIN (6MM)
Serial Range 1000001 - 9999999
Qty
Price $0.80
Add To Cart
Ref No 28
Part Number 94109-12000
Description WASHER, DRAIN PLUG (12MM)
Serial Range 1000001 - 9999999
Qty
Price $1.50
Add To Cart
Ref No 29
Part Number 94111-06800
Description WASHER, SPRING (6MM)
Serial Range 1000001 - 9999999
Qty
Price $1.38
Add To Cart
Ref No 30
Part Number 95003-40003-60M
Description BULK HOSE, VINYL (12X16X3000) (12X16X690)
Serial Range 1000001 - 9999999
Ref No 31
Part Number 95701-06012-08
Description BOLT, FLANGE (6X12)
Serial Range 1000001 - 9999999
Qty
Price $2.04
Add To Cart
Ref No 32
Part Number 95701-06025-08
Description BOLT, FLANGE (6X25)
Serial Range 1000001 - 9999999
Qty
Price $2.20
Add To Cart
Ref No 33
Part Number 95701-08016-08
Description BOLT, FLANGE (8X16)
Serial Range 1000001 - 9999999
Qty
Price $2.20
Add To Cart
Ref No 34
Part Number 95701-12020-08
Description BOLT, FLANGE (12X20)
Serial Range 1000001 - 9999999
Qty
Price $3.04
Add To Cart