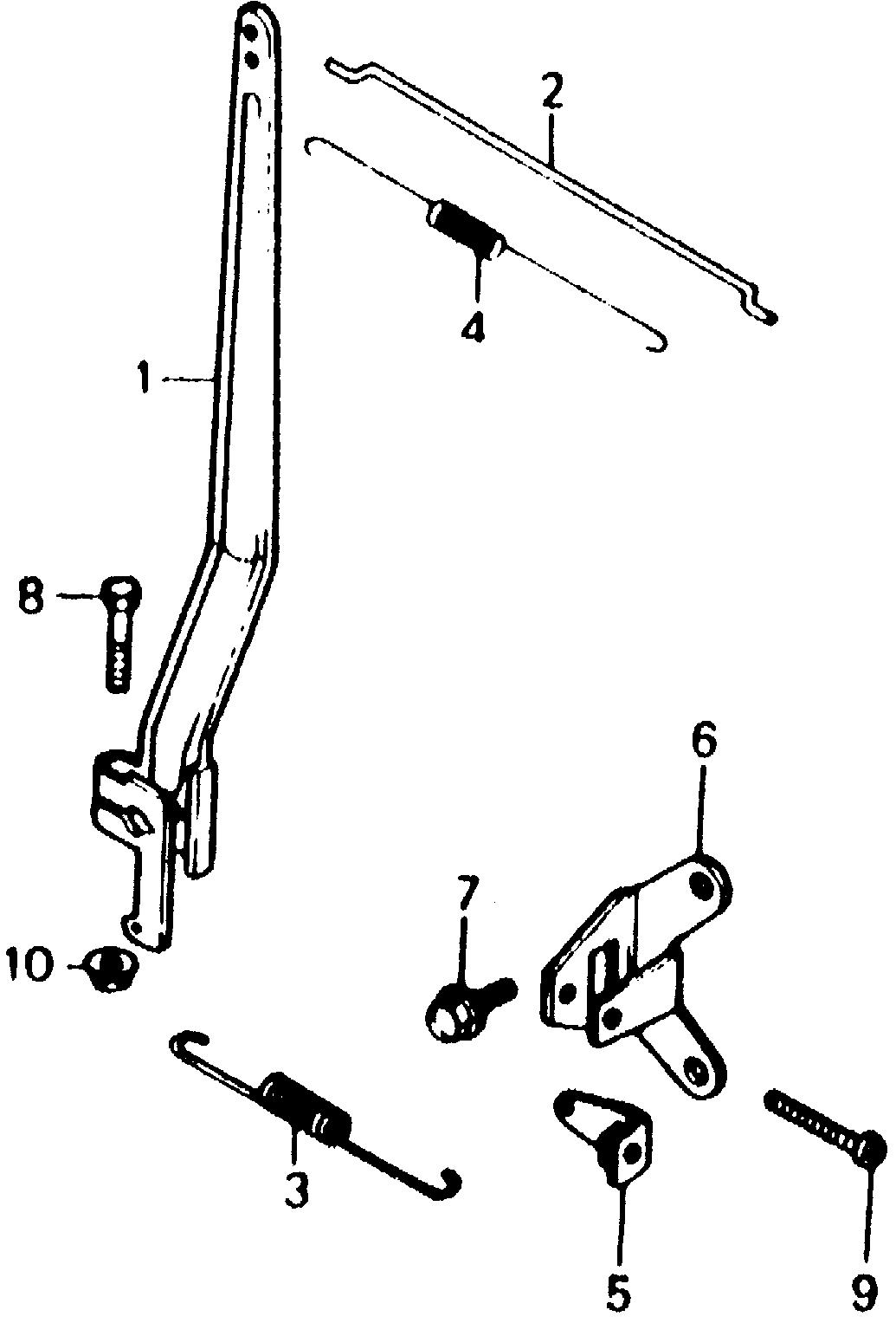
Generators E E2500 E2500K4 A E2500-2100006-9999999 GOVERNOR ARM@CONTROL PLATE - Robert E. Little, Inc.

Ref No
Part Number
Description
Serial Range
Qty
Price

Ref No
1
Part Number
16551-889-010
Description
ARM, GOVERNOR
Serial Range
1000001 - 9999999

Ref No
2
Part Number
16555-889-010
Description
ROD, GOVERNOR
Serial Range
1000001 - 9999999
Qty
Price
$4.90

Ref No
3
Part Number
16561-890-010
Description
SPRING, GOVERNOR
Serial Range
1000001 - 1094198

Ref No
3
Part Number
16561-890-601
Description
SPRING, GOVERNOR
Serial Range
1094199 - 9999999

Ref No
4
Part Number
16562-889-000
Description
SPRING, THROTTLE RETURN
Serial Range
1000001 - 1028288

Ref No
4
Part Number
16562-889-010
Description
SPRING, THROTTLE RETURN (NOT AVAILABLE)
Serial Range
1028289 - 1094287

Ref No
5
Part Number
16571-865-630
Description
PLATE, CONTROL (NOT AVAILABLE)
Serial Range
1000001 - 9999999

Ref No
6
Part Number
16573-880-000
Description
BASE, CONTROL
Serial Range
1000001 - 1027910

Ref No
6
Part Number
16573-880-010
Description
BASE, CONTROL (NOT AVAILABLE)
Serial Range
1027911 - 9999999

Ref No
7
Part Number
90013-883-000
Description
BOLT, FLANGE (6X12) (CT200)
Serial Range
1027911 - 9999999

Ref No
8
Part Number
92101-06025-0H
Description
BOLT, HEX. (6X25)
Serial Range
1000001 - 9999999
Qty
Price
$2.16

Ref No
9
Part Number
93500-06025-0A
Description
SCREW, PAN (6X25)
Serial Range
1000001 - 9999999
Qty
Price
$1.46

Ref No
10
Part Number
94050-06080
Description
NUT, FLANGE (6MM)
Serial Range
1000001 - 9999999